Floor Deck/Screed Capacity in Axial Load (LGS G+3 Building)
Floor Deck/Screed Capacity in Axial Load (LGS G+3 Building)
(OP)
I am design a G+3 Light gauge steel building so below is the load bearing wall connection sketch. Max axial load is 55KN as shown in clouds @ first floor deck which is coming from the top stories , so I have doubt that does the 65mm screed have capacity to transfer the 55KN Axial load to the below steel stud through floor joist safely . Screed is C20 capacity.
Proposed scheme will work without screed damage??
Above and below floors Wall Stud and floor joist are exactly inline.
Wall stud spacing and joist spacing is 600mm c/c so every wall stud is carrying the Approx 55KN axial load.
Proposed scheme will work without screed damage??
Above and below floors Wall Stud and floor joist are exactly inline.
Wall stud spacing and joist spacing is 600mm c/c so every wall stud is carrying the Approx 55KN axial load.






RE: Floor Deck/Screed Capacity in Axial Load (LGS G+3 Building)
RE: Floor Deck/Screed Capacity in Axial Load (LGS G+3 Building)
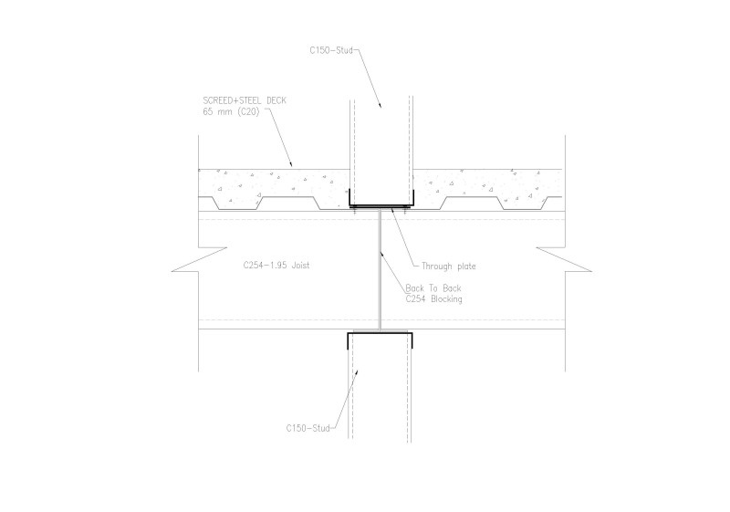
below is the blocking detail that what i understand from your above comment , my understanding is correct please confirm???
blocking mean to provide one member between joist and below the decking sheet as shown below???
if i provide the blocking then 65mm screed will be safe due to fully support under 50 KN axial load or still i need to check the screed capacity if yes then how i can check the screed capacity
RE: Floor Deck/Screed Capacity in Axial Load (LGS G+3 Building)
RE: Floor Deck/Screed Capacity in Axial Load (LGS G+3 Building)
1) Unless you can detail things such that you can get solid concrete below the studs, which I think will be problematic, I think that the screed does warrant some design attention. Basically, the bottom track will serve as a base plate of sorts for the axial load coming out of the stud web and flanges.
2) If you can manage #1, and your studs and joists will always line up, I see no need for blocking. However, some of your tie down details make me wonder if this is also a shear wall. You would definitely need the blocking to transfer shear between levels if that is the case.
3) I think that a much better detail would be to frame your lower level studs up to the underside of the upper level studs and balloon frame the joists into the sides. This avoids the bearing issue, allows the joists to be located arbitrarily, and provides great shear transfer. Also, in my area, builders would normally consider it a sequencing problem to have to pour the deck before continuing up with the cold formed framing.
I like to debate structural engineering theory -- a lot. If I challenge you on something, know that I'm doing so because I respect your opinion enough to either change it or adopt it.
RE: Floor Deck/Screed Capacity in Axial Load (LGS G+3 Building)
I was providing something I would be comfortable with. But his detail is much much better.
RE: Floor Deck/Screed Capacity in Axial Load (LGS G+3 Building)
By the way my boss is interesting to go with blocking options as I attached the sketch in my previous post and as suggested by the jayrod, because we have already practice this method (no additional training required for labor) in up to G+2 building and got success only difference is that this is G+3 which makes me confused that 65mm screed will take this much load but I think by providing blocking I can fix this problem.
However I know your suggestion is much much better but my boss will never accept, any additional suggestion in blocking option will highly be appreciated.
RE: Floor Deck/Screed Capacity in Axial Load (LGS G+3 Building)
I like to debate structural engineering theory -- a lot. If I challenge you on something, know that I'm doing so because I respect your opinion enough to either change it or adopt it.
RE: Floor Deck/Screed Capacity in Axial Load (LGS G+3 Building)
RE: Floor Deck/Screed Capacity in Axial Load (LGS G+3 Building)
I like to debate structural engineering theory -- a lot. If I challenge you on something, know that I'm doing so because I respect your opinion enough to either change it or adopt it.
RE: Floor Deck/Screed Capacity in Axial Load (LGS G+3 Building)
RE: Floor Deck/Screed Capacity in Axial Load (LGS G+3 Building)
But only one thing is still confuse me that the screed thickness does the 65mm screed (C20) deck(includes decking sheet) is enough to transfer the 55KN stud axial load below without any screed damage or i need to increase screed thickness however i know the screed is act as bearing only and also now fully supported by the blocking but still i am in doubt....???
RE: Floor Deck/Screed Capacity in Axial Load (LGS G+3 Building)
1) You need to check your bottom track as a base plate of sorts like the sketch below.
2) Since the load from your studs will get transferred from the screed to the web of the joists below, you'll need to check the new trough plate thing as an inverted base plate.
3) Since the load from your studs will go straight into your joists, you'll need to investigate whether or not the joists will require web stiffeners. It's a pretty safe bet.
I like to debate structural engineering theory -- a lot. If I challenge you on something, know that I'm doing so because I respect your opinion enough to either change it or adopt it.
RE: Floor Deck/Screed Capacity in Axial Load (LGS G+3 Building)
My only worries is the screeding I slightly modify the detail is that to place my load bearing wall on the joist directly as shown below so which option is better on the screed or on the joist/blocking ??
All walls are shear walls (with strap bracing). In the proposed option the slab will be in parts that can disturbed me in lateral forces action am I rite??
RE: Floor Deck/Screed Capacity in Axial Load (LGS G+3 Building)
I like to debate structural engineering theory -- a lot. If I challenge you on something, know that I'm doing so because I respect your opinion enough to either change it or adopt it.