please help me size a weld
please help me size a weld
(OP)
Hi Everyone,
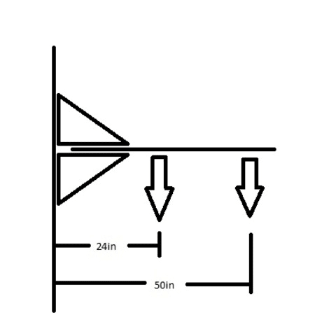
I'm not a structural engineer and I need some help checking a design for a welded gusset. I've pasted a drawing below. I have a cantilever beam supported by 2 gussets from above and 2 from below. The gussets are welded to a steel column and to a piece of square tubing. There are two point loads of about 300lbs each at 24in and 50in from the column to which the gussets are welded (ignore the weight of the beam). The square tubing is welded to the gussets perpendicular to the column and is otherwise unattached. The gussets will be made from .25in thick HSS. Assuming they are 45deg gussets (can change if necessary), I need to know how large they need to be. More specifically I'm trying to figure out how long the welds need to be.
[url=http://postimage.org/][/url]
[url=http://postimage.org/]imag[/url]
Thanks in advance for the help.
-b
I'm not a structural engineer and I need some help checking a design for a welded gusset. I've pasted a drawing below. I have a cantilever beam supported by 2 gussets from above and 2 from below. The gussets are welded to a steel column and to a piece of square tubing. There are two point loads of about 300lbs each at 24in and 50in from the column to which the gussets are welded (ignore the weight of the beam). The square tubing is welded to the gussets perpendicular to the column and is otherwise unattached. The gussets will be made from .25in thick HSS. Assuming they are 45deg gussets (can change if necessary), I need to know how large they need to be. More specifically I'm trying to figure out how long the welds need to be.
[url=http://postimage.org/][/url]
[url=http://postimage.org/]imag[/url]
Thanks in advance for the help.
-b





RE: please help me size a weld
i can't see your image but have a look at this site:-
http://www.roymech.co.uk/Useful_Tables/Form/Weld_s...
RE: please help me size a weld
[url=http://postimage.org/]
[url=http://postimage.org/app.php]print screen windows[/url]
Thanks,
-b
RE: please help me size a weld
Please post your calculation and we will have a look.
Regards
Desertfox
RE: please help me size a weld
The loads look pretty small. I suspect you could just push the HSS flush to the column, weld around the perimeter and be fine without any gussets from the standpoint of the weld and beam strength.
RE: please help me size a weld
What will get hurt when (if) it breaks?
Any chance of impact loads, or only gradually-applied, static loads? How are you going to "put" those loads on the beam? Hooks? Chains? Any chance of those loads slipping along the beam to a different location - either right or left will change the forces significantly.
RE: please help me size a weld
TWO gussets above the beam and TWO gussets below the beam?
What size beam? You said it is a 6x3x1/4 HSS, obviously slightly longer than 50 inch long, but while it is only carrying 600 lbs total load, you claim the beam weight is negligible? (Remind me not be on the crew lifting that "negligible" 4-1/2 foot, 14 lbs/ft weight over my head without assistance.)
For a vertical loading situation only - where your horizontal loads are either minor or not expected =- you could try to go to a more efficient 4x2 HSS or 5x2 HSS (and run the deeper length vertically.)
Regardless of either 2 inch wide, 3 inch wide, or even a four inch wide beam (though that is so large its own weight becomes non-negligible to the two small external loads and needs to be added in. )
Now, how do you propose welding those two 45 degree angle brackets to the horizontal and vertical beams? You don't have room to get in between the two 45 plates to weld your inside fillets. Worse, if you forgo an inside fillet weld - just using an eccentric, unbalanced single sided fillet, you will add "tearing forces" that significantly decrease the effectiveness of your weld. And your beam.
Rather, use ONE 45 plate on top, and ONE on the bottom. Use a double-sided, all-around fillet equal to the wall thickness of the horizontal beam, and buy a 45 deg plate thickness equal to your horizontal beam wall thickness (or one gage greater, if that size is cheaply available). The ONE 45 degree plate top and the ONE plate on the bottom should be centered on the vertical beam (an I beam, I think from your text). Weld all-around to avoid start-stop points, and to avoid pits or openings or non-painted areas: The all-around weld will also allow a better, faster paint job that will prevent rust spots and rust underneath the plate edges.
No fillet weld can be effectively stronger than the thinnest of the two plates being welded; Don't get any plate thicker than the weld you will end up using. Thus, if you have 1/8 wall thickness on the horizontal beam, anything larger than a 1/4 weld is going to waste significant time and money, and you may be able to specify a 3/16 single-pass weld to reduce even that cost.
As I recall, one thumb-rule holds that each additional inch of a 1/4 inch thick, full-penetration weld greater than 1 inch long inch holds an additional 1000 lbs static load in tension. Your final calc has to include factors-of-safety and the significant moment loads of the beam, loads, and chains, and possibly people standing on the beam while it is being loaded and unloaded.
RE: please help me size a weld
Consider posting this in the structural engineering forum.
(BTW....Gussets are not required in every joint and a 3/16 inch fillet weld is the most commonly specified size)
There are other rules about weld symmetry to consider...
MJCronin
Sr. Process Engineer
Venture Engineering & Construction
www.VentureEngr.com
RE: please help me size a weld
Dik
RE: please help me size a weld
RE: please help me size a weld
RE: please help me size a weld
As shown in the sketch, the gussets will likely make the stress problem worse with your weldment.