Isometric section cut
Isometric section cut
(OP)
Hi,
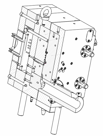
I would like to make section cut on the isometric view, like the one seen on the picture, which is made with Pro/E.
In V5 I don't know how to define section plane that I want?
Rgds,
Damir
I would like to make section cut on the isometric view, like the one seen on the picture, which is made with Pro/E.
In V5 I don't know how to define section plane that I want?
Rgds,
Damir





RE: Isometric section cut
RE: Isometric section cut
After apply breakout view to isometric you can remove breakout from Front View or delete it.
Sorry for my Bad English
Sparck
RE: Isometric section cut
RE: Isometric section cut
I created an Ignitable with www.ignitecast.com to show you how to create a section cut through an Isometric View similar to ProE.
http://ww
I hope this helps.
Sincerely,
CATIATRAIN
RE: Isometric section cut
thixoguy
RE: Isometric section cut
What software did you use to make it?
(although it didn't address the question posted)
RE: Isometric section cut
Thanks for complements.
I used Ignite to create the tutorial. It is free a free download when you create a free account at www.IgniteCAST.com.
I created the tutorial in about 10min and I am not kidding.
Try it out it is easy.
As for the Question, what exactly do think he is asking?
Regards,
CATIATRAIN
RE: Isometric section cut
I think CATPart was asking about sectioning a 3D view directly on a drawing. I believe Sparck provided a good solution that should update with any part changes.
RE: Isometric section cut
The solution from Sparck was exactly what I was searching.
Rgds,
Damir
RE: Isometric section cut
I agree, video tutorials would be great!
thixoguy
RE: Isometric section cut
1-Create a front view of the part normal to the future breakout view
2-Create the breakout section
3-Create a ISO view like the one you show
4-Right click on the borders of the first front view and choose "front view object" --> "apply breakout to" and pick the ISO view
5-Hide or move the front view
RE: Isometric section cut
This is probably the easiest way to create an Isometric View containing a breakout section using the Drafting Workbench.
The link to the Ignitable is the following:
http://ww
These tutorials are so easy to create using IgniteCAST.com, it's getting ridiculous.
Cheers,
CADTRAIN
RE: Isometric section cut
RE: Isometric section cut
The link has change to
http://www.ignitecast.com/p/aDql8F5IKm/
Sincerely,
CATIATRAIN